产品特点
1.结构紧凑,性能稳定,
2.安装简易,使用维护方便,
3.破碎产品粒度均匀,过粉过碎小,产品粒度细(可以破碎至3mm以下)。
一、概述
对辊式破碎机简称对辊破或对辊破碎机,是比较老式的破碎设备,制造工艺更加成熟化。该设备结构简单,过粉碎现象少,辊面上的齿形、尺寸、排列可随物料性质而改变,可对中硬和软矿石进行中、细破碎,如硫酸厂中通常用对辊式破碎机对硫铁矿石进行一次破碎,使直径达到20~30mm,再进入双辊式破碎机进行二次破碎,使矿石直径达到5mm以下,达到沸腾炉的要求。
对辊破碎机可供选矿、化工、水泥、耐火材料、磨料、建筑材料等工业部门中细碎各种高、中等硬度的矿石和岩石之用,尤其在建筑材料工业中生产瓜米石和绿豆砂等产品,有较一般破碎机械更好的效果。
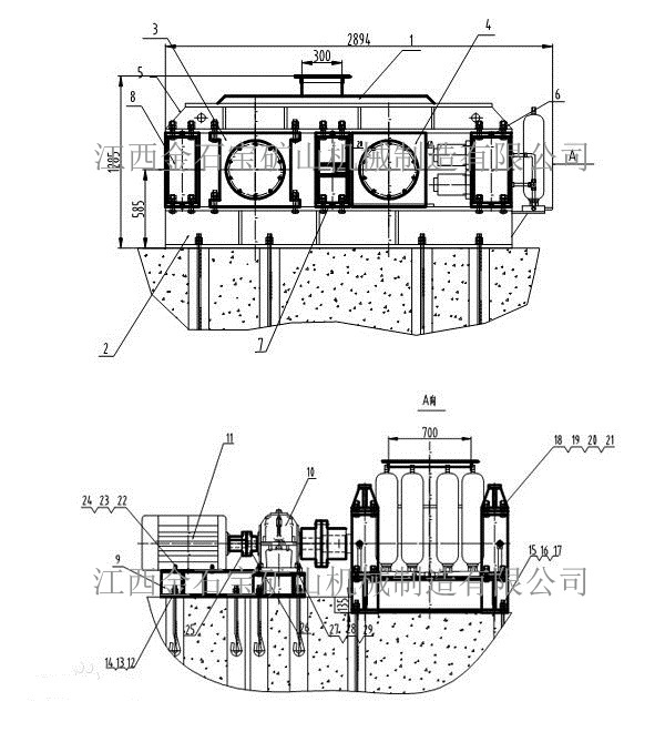
二、结构
对辊式破碎机主要由辊轮、辊轮支撑轴承、压紧和调节装置以及驱动装置等部分组成。
 
1、出料调节装置:两辊轮之间装有楔形或垫片调节装置。
a、楔形装置的顶端装有调整螺栓,当调整螺栓将楔块向上拉起时,楔块将活动辊轮顶离固定轮,即两辊轮间隙变大,出料粒度变大,当楔块向下时,活动辊轮在压紧弹簧的作用下两轮间隙变小,出料粒度变小。
b、垫片装置是通过增减垫片的数量或厚薄来调节出料粒度大小的,当增加垫片时两辊轮间隙变大,当减少垫片时两辊轮间隙变小,出料粒度变小。
2、驱动机构:是由两个电动机,通过三角皮带传动到槽轮上拖动辊轮,按照相对方向运动旋转。在破碎物料时,物料从进料口通过辊轮,经碾压而破碎,破碎后的成品从底架下面排出。
3、传动部分:为了安全根据实际情况自行安装安全罩。
三、工作原理
 
 
将破碎物料经给料口落入两辊子之间,进行挤压破碎,成品物料自然落下。遇有过硬或不可破碎物时,其辊子可凭液压缸或弹簧的作用自动退让,使辊子间隙增大,过硬或不可破碎物落下,从而保护机器不受损坏。相向转动的两辊子有一定的间隙,改变间隙,即可控制产品排料粒度。
四、技术参数
| 规格型号 | 给矿粒度MM | 出料粒度MM | 产量T/H | 电机功率KW | 机重KG | 
| 2PG-400*250 | ≤25 | 2-8 | 5-10 | 11 | 1100 | 
| 2PG-610*400 | ≤40 | 1-20 | 13-40 | 30 | 3500 | 
| 2PG-750*500 | ≤40 | 2-20 | 20-55 | 37 | 12250 | 
| 2PG-900*500 | ≤40 | 3-40 | 60-125 | 44 | 14000 |